Stereo Pokey
Pierwszym etapem montażu dodatkowego POKEY-a, jest wylutowanie starego POKEY-a i wlutowanie podstawki 40-nóżkowej w jego miejsce. Następnie w w starym POKEY-u odginamy nóżkę nr. 31.
Następnie w drugim POKEY-u odginamy nóżki od 8 do 16 włącznie, nóżki od 18 do 29 włącznie oraz nóżki 37 i 31.
Teraz nalutowywujemy drugiego POKEY-a na pierwszego (tylko nieogięte nóżki) i umieszczamy w podstawce.
Kolejnym krokiem jest wykonanie układu na rysunku - w nawiasach umieszczono numery nóżek, do których należy podłączyć dane linie.
Nieco komentarza wymaga przeł±cznik - jest to przełącznik STEREO/MONO - na rysunku jest on w pozycji STEREO. W tym momenie na lewy kanał dochodzi sygnał z pierwszego POKEY-a ($d200-$d20f), natomiast na prawy kanał dochodzi sygnał z drugiego POKEY-a ($d210-$d21f). W pozycji MONO na obydwa kanały dochodzi sygnał z POKEY-a nr. 1, natomiast drugi POKEY nie jest widoczny dla procesora.
Warto dodać na wyjścia kanałów rezystory (widoczne na rysunku) o wartości rzędu 800 Ohm - POKEY jest układem bardzo wrażliwym - niestety większość elektroników zapomina o tego typu zabezpieczeniu, skutkiem czego POKEY-e ulegają różnego rodzaju uszkodzeniom (np. niektóre kanały grają o połowę ciszej itp.)
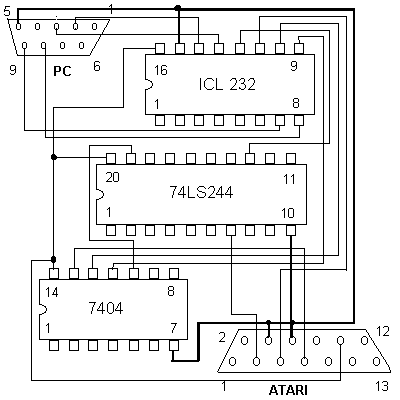
SIO2PC
Powyższy układ pracuje u mnie od wielu lat bez zarzutu.
Schemat, na podstawie którego stworzyłem poniższy układ zawierał tylko 2 układy scalone, jednak tamten schemat straciłem w wyniku awarii dysku twardego, dlatego umieściłem tutaj schemat układu, który sam stworzyłem, zastępując inwerter trójstanowy, którego w danej chwili nie posiadałem dwoma układami: 74LS244 i 7404, dlatego ten schemat opiera się na trzech układach scalonych.
Dodatkowo do układu należy dodać 4 kondensatory elektrolityczne o pojemności rzędu 2,2-10 mikrofaradów i podłączyć do następujących nóżek ICL 232:
- +(16) -(2)
- +(3) -(1)
- +(5) -(4)
- +(6) -(15)
Warto również zwrócić uwagę na to, żeby kabel łączący Atari z interfejsem był jak najkrótszy (max. 1 m), natomiast kabel łączący PC z interfejsem może mieć nawet 5 metrów.
Częstym problemem jest zdobycie wtyczki do złącza szeregowego Atari.
Ja rozwiązałem ten problem, umieszczając interface wewnątrz mojej stacji dysków - jednak nie każda stacja ma wewnątrz tyle miejsca, co TOMS 720, dlatego ciekawym rozwiązaniem jest umieszczenie interface-u wewnątrz komputera.
W wypadku gdy w PC posiadamy wolne złącze szeregowe 25-pinowe, polecam rysunek nr. 2, który pokazuje rozszycie sygnałów na wtyczkę DB25.
Komentarze (2)